


15kV非屏蔽前接斜π避雷器
- 产品->电力电缆附件->1-35kV可分离连接器及配套产品
- 1-35kV可分离连接器及配套产品
产品特点
1.采用优质EPDM橡胶,不仅具有优异的电气性能,同时具有抗撕裂、抗臭氧、耐氧化、抗腐蚀、机械强度高等优异性能。
2.非屏蔽型外表不接地,橡胶与空气复合绝缘。
3.小型化结构,更加适应箱体设计趋势。
型号:WEQπ-15/630-□-17/□
电气性能
额定电压 | 8.7/15(17.5)kV |
适用套管类型 | C型 |
局部放电 | 15kV,≤10pC |
冲击电压 (正负极性各10次) | 95kV |
适用电缆截面 | 25-300mm2 |
注:该产品满足IEC 60502.4、GB/T 12706.4及GB/T 11032要求,避雷器不可做39kV工频耐压试验 |
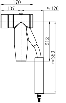
结构尺寸
产品型号说明
主要配件
斜π避雷器插头、绝缘堵头、后封帽、六角套筒、应力体、硅脂膏、专用端子、清洁纸、变径螺栓